欢迎您的来电
13333079818
产品分类
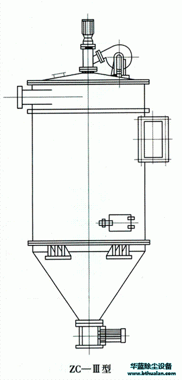
PRODUCT CATEGORYZC系列机械回转反吹扁布袋除尘器



ZC系列机械回转反吹扁布袋除尘器结构由上箱体、中箱体、下箱体、反吹风机构和排灰系统构成。该系列除尘器不受使用场合气源条件的限制,易损件少,维护简便,运行优良。克服了压缩空气脉冲清灰的弊病,反吹风作用距离大,可采用长滤袋,充分利用空间,占地面积小。

ZC系列机械回转反吹扁布袋除尘器构造及工作原理
ZC-II型机械回转反吹布袋除尘器由以下四部分组成
1、上箱体:包括除尘器盖、旋转揭盖装置、清洁室换袋入孔、观察孔、净化后出气口。
2、中箱体:包括花板、滤袋、滤袋框架、滤袋导口、过滤室筒体、
3、下箱体:包括定位支撑架、灰斗、卸料器、支座。
4、反吹风清灰机构:包括旋臂喷口反吹风机旋转减速机构。反吹风机旋臂由置于顶盖上的减速器驱动,反吹风机置于顶盖,通过中心管与旋臂连接进行闭路反吹。
星型卸灰阀、电动减速机构及其支架、除尘器支架及平台、梯子、反吹风机基础,循环风管路应视现场具体情况进行设计和安装。
机械回转反吹扁布袋除尘器工作原理:过滤工况,含尘气体于切向进入过滤室上部空间,大颗粒及凝聚尘粒离心作用下,沿筒臂旋落灰斗,小颗粒弥散于过滤室袋间空隙从而被袋阻留,净化空气透过袋壁经花板上滤袋导口汇集于清洁室,由通风机吸入而排放于大气中。
工况,随着过滤工况的进行,粉尘附于布袋表面,滤袋阻留逐渐增加,当达到反吹风控制阻力上限时,由于除尘器前后风管上的接口相连接的差压变送器发出讯号自动启动反吹风机构工作。
具有足够量的反吹风气流由旋臂喷口吹入滤袋导口,阻挡过滤气流并改变袋内压力工况,引起滤袋实质性振击,抖落积尘,旋臂转动对滤袋逐个反吹,当滤袋阻力降到下限时,反吹风机构自动停止工作。
反吹机构,为节约反吹风机的动力,减少反吹清灰,不受使用场合气源条件的限制,易损件少,维护简便,运行优良。克服了压缩空气脉冲清灰的弊病,反吹风作用距离大,可采用长滤袋,充分利用空间,占地面积小。
1、壳体旋风除尘器流型设计,能起局部旋风作用,减轻滤袋负荷。圆筒拱顶的体型,受力均匀,抗暴有力的。
2、采用了设备自带的高压风机反吹清灰,不受使用场合气源条件的限制,易损件少,维护简便,运行优良克服了压缩空气脉冲清灰的弊病,反吹风作用距离大,可采用长滤袋,充分利用空间,占地面积小。
3、采用梯形扁袋在圆筒体内布置,结构简单、紧凑。过滤面积指标高。在反吹风作用下,梯形扁袋振幅大,只需一次振击,即可抖落积尘,有利于提高滤袋寿命。
4、用除尘器的阻力作为信号,自带控制回转反吹清灰,视入口浓度好低,自动调整清灰周期。较之定时脉冲控制方式为合理优良。
5、顶盖设有回转揭盖装置及操作入孔,换袋在顶部清洁室操作,不必揭盖。
6、除严寒地区外,本除尘器可室外露天设置,不用建造除尘器间。




