欢迎您的来电
13333079818
动态分类
DYNAMIC CATEGORY新型脉冲除尘器在碾米厂的应用
2015-04-10 21:11:55
文章摘要:
碾米行业是我国农产品加工的重要组成部分,其规模化整合是我国加强粮食管理的一项重要举措,也是碾米行业这个既是传统产业又是朝阳产业走可持续发展的必山之路。
碾米行业是我国农产品加工的重要组成部分,其规模化整合是我国加强粮食管理的一项重要举措,也是碾米行业这个既是传统产业又是朝阳产业走可持续发展的必山之路。
根据粮食行业协会的新统计资料显不,目前规模型(日产400t以上大米)的米厂已达到1 600多家,但仍然有7 000家中小型米厂未进行规模化整合。这不但影响了碾米业对环保状况的,而且也影响了粮食和碾米业的可持续发展;本文就碾米厂采用新型脉冲除尘设备的效果及经济效益进行了探讨,并用数据分析了新型脉冲除尘器与普冲除尘器的效果差异与效益对比。
根据粮食行业协会的新统计资料显不,目前规模型(日产400t以上大米)的米厂已达到1 600多家,但仍然有7 000家中小型米厂未进行规模化整合。这不但影响了碾米业对环保状况的,而且也影响了粮食和碾米业的可持续发展;本文就碾米厂采用新型脉冲除尘设备的效果及经济效益进行了探讨,并用数据分析了新型脉冲除尘器与普冲除尘器的效果差异与效益对比。
1、碾米业环保现状:
环境保护是我国的一项基本国策,碾米行业也不例外。根据我们对市场的调研,在我国规模型大型米厂中达到环保要求的已占以上(但采用新型脉冲除尘器的仅占22% ),未进行整合的中小型碾米厂达到环保要求的还不到30%,因此在米厂工艺改进方面,环保的任务艰巨,现阶段有22的中小型米厂,在处理风机尾尘方面仍然采用老式的普通布袋除尘器或刹克龙集尘,除尘效率仅为05%,车间内外灰尘明显,有4%的碾米企业采用水域降尘(水池),除尘效率仅为66%~67%,而且水域降尘又造成水的污染,给环保工作造成大的压力,山于车间内外灰尘较大,有17%的中小型米
厂的操作工人仍需要戴口罩上班。为此我们建议,尚未进行整合的中小型碾米厂进行技改时考虑以人为本,并且随着对环保要求越来越重视,特别是近年来普通老百姓都认识到雾霆天气和PM2.5粉尘排放对生存环境造成影响,环保对其他行业从今年7月1口起提出实施强标(排放蕊30 mg/m³)规定和要求。采用新型脉冲除尘器来处理通风机的尾尘,其除尘效率和排放在30 mg/m³以下。为节省电能与占地面积在处理风量达到要求的状况下,可采用同一型号且压力相同的风机,合用一台脉冲除尘器(详见设备性能表)。另外需加强车间内部的除尘风网管道的密闭。
2、碾米厂通风除尘基本工艺状况:
稻谷在收割、脱粒、翻晒、运输和储藏过程中,一般都含有数量灰尘与杂质,因此稻谷加工的首道工序是清理工序;该工序的工艺效果直接影响米厂的成品米质量与生产成本,尤其是影响车间内外的空气质量,同时影响操作工人的身体健康与工作积极性。为此碾米业高度重视稻谷加工的清理工序,因为稻谷中的杂质与灰尘,不但会增加运输、保管费用和影响储存,而且对稻谷加工会造成极为不利的后果,即增加清理负担,损坏机器,影响效率,减少出品率,污染环境卫生,危害工人健康,甚至有造成工伤事故、设备事故或引起火灾的可能。
碾米厂无论是规模型大型米厂(含型米厂)还是中小型米厂,通风除尘都设计在清理工序。对规模型米厂则增加了稻谷生产过渡仓(指钢板仓)其前路初步清理工艺如下:400t/d产的规模型米厂2台4-72除尘通风机或节能型除尘风机配置相应的2台新型脉冲除尘器一般以LYDZ-G-104(布袋L为2000mm)为常见,工艺流程及常规风网组合如下:
稻谷在收割、脱粒、翻晒、运输和储藏过程中,一般都含有数量灰尘与杂质,因此稻谷加工的首道工序是清理工序;该工序的工艺效果直接影响米厂的成品米质量与生产成本,尤其是影响车间内外的空气质量,同时影响操作工人的身体健康与工作积极性。为此碾米业高度重视稻谷加工的清理工序,因为稻谷中的杂质与灰尘,不但会增加运输、保管费用和影响储存,而且对稻谷加工会造成极为不利的后果,即增加清理负担,损坏机器,影响效率,减少出品率,污染环境卫生,危害工人健康,甚至有造成工伤事故、设备事故或引起火灾的可能。
碾米厂无论是规模型大型米厂(含型米厂)还是中小型米厂,通风除尘都设计在清理工序。对规模型米厂则增加了稻谷生产过渡仓(指钢板仓)其前路初步清理工艺如下:400t/d产的规模型米厂2台4-72除尘通风机或节能型除尘风机配置相应的2台新型脉冲除尘器一般以LYDZ-G-104(布袋L为2000mm)为常见,工艺流程及常规风网组合如下:
原粮→下粮坑→除尘风机→脉冲除尘器→提升机→初清筛→提升机→振动清理筛→除尘风机→脉冲除尘器→生产过渡仓(钢板仓)
碾米厂正常生产时,过渡仓(钢板仓)下来的稻谷还需经过输送设备进入清理工序的后路,即:
再次初清一平面回转清理筛一比重去石机(进入碧谷工序)。
碾米厂正常生产时,过渡仓(钢板仓)下来的稻谷还需经过输送设备进入清理工序的后路,即:
再次初清一平面回转清理筛一比重去石机(进入碧谷工序)。
3、新型脉冲除尘器的概述和优点:
LYDZ/G系列圆筒高压脉冲管喷除尘器是近年来本公司吸收消化技术的基础上一种新型、布袋除尘器。可替代LYDZ系列圆筒低压普冲袋式除尘器,同时还可以用于ZC和CXBC反吹风系列除尘器的改造。
该系列高压脉冲除尘器目前是市场主流产品,除了具有常规圆筒脉冲除尘器通用的耐压性能好,占地面积小等特点外还具有以下专有的特性:
(1)清灰效果好,清灰压力为可调式。布袋可在顶盖协调换,脉冲阀也可在外面检修。而低压布袋检查换时需钻入本体内作业,非常困难;低压气包也在除尘器顶部,还需打开顶盖才能检查维修脉冲阀。高压脉冲制作精度等要求较低压脉冲相对较高,而且在中粮、益海、中储粮和五得利等大型企业均在成熟使用。
LYDZ/G系列圆筒高压脉冲管喷除尘器是近年来本公司吸收消化技术的基础上一种新型、布袋除尘器。可替代LYDZ系列圆筒低压普冲袋式除尘器,同时还可以用于ZC和CXBC反吹风系列除尘器的改造。
该系列高压脉冲除尘器目前是市场主流产品,除了具有常规圆筒脉冲除尘器通用的耐压性能好,占地面积小等特点外还具有以下专有的特性:
(1)清灰效果好,清灰压力为可调式。布袋可在顶盖协调换,脉冲阀也可在外面检修。而低压布袋检查换时需钻入本体内作业,非常困难;低压气包也在除尘器顶部,还需打开顶盖才能检查维修脉冲阀。高压脉冲制作精度等要求较低压脉冲相对较高,而且在中粮、益海、中储粮和五得利等大型企业均在成熟使用。
(2)进风采用旋进导流方式,具有的初级净化功能,提高了除尘效率并降低能耗。
(3)耐压及性能好,设备耐压不小于10kPa。
(4)采用喷吹技术,使清灰性能达到水平。
(5)采用袋笼技术及专有的弹簧涨卡式滤袋结构,密封性能,方便检修。
(6)设计采用A, B, C(平刮板卸灰、法兰卸灰、锥形卸灰)3种形式,可满足用户的不同需求,方便用户选型。
(3)耐压及性能好,设备耐压不小于10kPa。
(4)采用喷吹技术,使清灰性能达到水平。
(5)采用袋笼技术及专有的弹簧涨卡式滤袋结构,密封性能,方便检修。
(6)设计采用A, B, C(平刮板卸灰、法兰卸灰、锥形卸灰)3种形式,可满足用户的不同需求,方便用户选型。
(7)设备也可采用机内换袋硬笼骨结构,使用户布置时能不受室内楼层的限比,方便设计;而且产品保持着产品前身的特点,即进、出风口的相对位置可任意在360°内进行设置,该新型脉冲除尘器特别适用于碾米厂的除尘工作。

4、新型脉冲除尘器构造及工作原理:
4.1、构造:
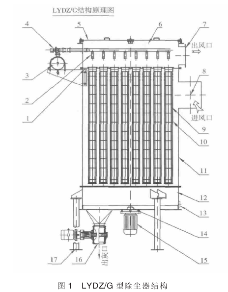
基本构造见LYDZ/G型原理图,山5个部分组成。
(1)上箱体:包括上掀盖、清灰气包、喷吹管(技术)和净气出口。
(2)中箱体:包括花板、专有的旋进式导流进风口、袋笼(技术)、滤袋和检修门等。
(3)下箱体:包括灰斗、支座和灰斗检修门等。
(4)排灰系统:卸灰阀或括板电机等。
(5)控制系统:控制仪等。
4.1、构造:
基本构造见LYDZ/G型原理图,山5个部分组成。
(1)上箱体:包括上掀盖、清灰气包、喷吹管(技术)和净气出口。
(2)中箱体:包括花板、专有的旋进式导流进风口、袋笼(技术)、滤袋和检修门等。
(3)下箱体:包括灰斗、支座和灰斗检修门等。
(4)排灰系统:卸灰阀或括板电机等。
(5)控制系统:控制仪等。
4.2、工作原理:

1、花板 2、喷吹管 3、气包 4、电磁脉冲阀 5、上掀盖 6、上箱体 7、净气出口 8、尘气入口 9、袋笼 10、滤袋 11、中箱体 12、下箱体 13、灰斗检查孔 14、平刮板机15、刮板电机16、卸灰阀 17、支腿
除尘器分设上箱体、中箱体和下箱体3部分,当含尘气体从中箱体进风口旋进式进入箱体后,一部分较粗颗粒尘在离心力的作用,沿筒壁旋转落入灰斗,起到初级除尘作用;另一部分较细的粉尘被滞留在滤袋外,净化后的气体穿过滤袋进入上箱体山净气出口排出,当滤袋表面的粉尘在过滤状态中增加时.除尘器阻力亦增大.为使设备维持在限定(一般。.8}1.5kPa)范围内,进行清灰来抖落粉尘,达到降低阻力的目的,该系列产品是采用控制仪控制脉冲阀及清灰喷吹管,使各滤袋在其喷吹及诱导气流的作用下造成布袋瞬时鼓胀,抖落粉尘,并山排灰机构排出。

4.3、清灰控制:
采用引进技术设计的新一代脉冲控制
采用引进技术设计的新一代脉冲控制

器。控制器具有时间、差压控制的功能,具体可按照用户工艺的要求进行选择,一般按时间控制进行配套。控制器的输入电压为AC220V±10%, 50Hz。控制器按下述环境进行配套。
使用环境:①环境温度一10℃一+550C ;②相对湿度小于85% ;③无严重腐蚀性气体和导电尘埃;④无剧烈震动或冲击;⑤防护等级为IP64;⑥功耗约20W。
使用环境:①环境温度一10℃一+550C ;②相对湿度小于85% ;③无严重腐蚀性气体和导电尘埃;④无剧烈震动或冲击;⑤防护等级为IP64;⑥功耗约20W。
4.4、压缩空气耗量估算:
L=1.5n乘以gN?/min
1000乘以T
式中:n为清灰周期内所喷吹的脉冲阀数量;g为每个脉冲阀喷吹一次所需的气量,一般为90L;T为清灰周期,min,应根据粉尘性质、浓度和阻力确定。
5、新型脉冲除尘器性能及除尘效果:
5.1、性能指标:
表1中的处理风量是指过滤风速为1~4m/min设备阻力0.8~1.5kPa,排放浓度<30mg/Nm3。
L=1.5n乘以gN?/min
1000乘以T
式中:n为清灰周期内所喷吹的脉冲阀数量;g为每个脉冲阀喷吹一次所需的气量,一般为90L;T为清灰周期,min,应根据粉尘性质、浓度和阻力确定。
5、新型脉冲除尘器性能及除尘效果:
5.1、性能指标:
表1中的处理风量是指过滤风速为1~4m/min设备阻力0.8~1.5kPa,排放浓度<30mg/Nm3。
5.2、除尘效果分析:
根据稻谷的物理特性,其经过清理工序后山毛谷变成净谷,表面上净谷基本无灰尘;但进入碧谷工序后经碧谷机的谷糙混合物是含尘大的物料,其在进行谷壳分离时山碧谷机的风网将谷糙混合物与稻壳分离,此时产生的灰尘轻比原粮在清理工序清理时的灰尘加难以处理。为此用于碧谷机谷壳分离的风机的尾尘处理使用新型脉冲除尘器,效果加明显;山于正常情况下碾米厂都采用36型的碧谷机其无论是脱谷率、破碎率及胶辊利用率方面都有利于提高碾米厂的经济效益,同时又因为36型碧谷机谷壳分离的风机的风量都在4 800m3/h,所以在处理风机尾尘时可以采用两台风机(即两台碧谷机)合用一台脉冲除尘器。根据我们对安徽凯源集团400t米厂与安徽金城米业集团生产车间的测定,其脉冲出口空气含尘(用粉尘测定议分别对新型脉冲除尘器与普冲除尘器经反复检测)新型脉冲除尘器出口空气质量比普冲除尘器出口要优0.09%。
根据稻谷的物理特性,其经过清理工序后山毛谷变成净谷,表面上净谷基本无灰尘;但进入碧谷工序后经碧谷机的谷糙混合物是含尘大的物料,其在进行谷壳分离时山碧谷机的风网将谷糙混合物与稻壳分离,此时产生的灰尘轻比原粮在清理工序清理时的灰尘加难以处理。为此用于碧谷机谷壳分离的风机的尾尘处理使用新型脉冲除尘器,效果加明显;山于正常情况下碾米厂都采用36型的碧谷机其无论是脱谷率、破碎率及胶辊利用率方面都有利于提高碾米厂的经济效益,同时又因为36型碧谷机谷壳分离的风机的风量都在4 800m3/h,所以在处理风机尾尘时可以采用两台风机(即两台碧谷机)合用一台脉冲除尘器。根据我们对安徽凯源集团400t米厂与安徽金城米业集团生产车间的测定,其脉冲出口空气含尘(用粉尘测定议分别对新型脉冲除尘器与普冲除尘器经反复检测)新型脉冲除尘器出口空气质量比普冲除尘器出口要优0.09%。








