欢迎您的来电
13333079818
动态分类
DYNAMIC CATEGORY脉冲除尘器要如何使用(含内部原理结构图解)
文章摘要:
所谓的脉冲除尘器就是指经过喷吹压缩空气的方法除去过滤介质(布袋或滤筒)上附着的粉尘的除尘器。 根据除尘器的大小可能有几组脉冲阀,由脉冲控制仪或PLC控制,每次
所谓的脉冲除尘器就是指经过喷吹压缩空气的方法除去过滤介质(布袋或滤筒)上附着的粉尘的除尘器。
根据除尘器的大小可能有几组脉冲阀,由脉冲控制仪或PLC控制,每次开一组脉冲阀来除去它所控制的那部散布袋或滤筒的尘土,而其他的布袋或滤筒正常作业,隔一段时间后下一组脉冲阀翻开,脉冲除尘器是在袋式除尘器的基础上的新式脉冲除尘器,归纳了分室反吹各种脉冲喷吹除尘器的长处,战胜了分室清灰强度不行,进出风散布不平等缺点,扩展了运用规划。

脉冲除尘器结构设计简略,并且操作简略。选用新式的脉冲除尘器,能捕集不同性质的粉尘,清灰才能强,,排放浓度低,漏风率小,能耗少,且底部可以设备上万向脚轮,用做车间除尘设备,具体的内部结构如下图所示,可以根据需要随时移动,占地面积少,作业安稳,经济效益好,脉冲除尘器优势明显,作业安稳,便于收回干粉尘,它没有污泥处理、腐蚀等问题。

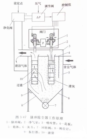
脉冲除尘器的工作原理
脉冲除尘器是随着过滤时间的延伸,滤袋上的粉尘层不断积厚,除尘设备的阻力不断上升,当设备阻力上升到设定值时,清灰设备初步进行清灰。
一个分室进步阀关闭,将过滤气流截断,然后电磁脉冲阀打开,压缩空气以促的时间在上箱体内膨胀,涌入滤袋,使滤袋膨胀变形产生振荡,并在逆向气流冲刷的作用下,附着在滤袋外表面上的粉尘被剥离落入灰斗中。清灰完毕后,电磁脉冲阀关闭,进步阀翻开,该室又过滤情况。清灰各室顺次进行,从一室清灰初步至下一次清灰初步为一个清灰周期。经过过滤和清灰作业被截留下来的粉尘落入灰斗,再由灰斗口的卸灰设备会集排出。

脉冲除尘器如何使用
脉冲除尘器的正确运用可以延伸设备的运用寿命,节省资源。下边介绍脉冲除尘器操作注意事项:
1、脉冲除尘器在投入运用前应检查设备上的风机作业是否正常,有无异常杂声或不良情况,否则要停机待修。检查电磁脉冲阀是否正常作业,压缩空气是否处于0.5~0.7MPa,否则给予调整。
2、脉冲除尘器作业后应对设备的收尘作用进行目测监督,如发现净气出口有明显的粉尘飞出,则说明除尘器内的除尘布袋有松动或已损坏,应及时检查换。除尘布袋要进行半年一次清洗。
3、脉冲主动清灰的调整。详阅脉冲控制仪运用说明书,调整脉冲间隔、脉冲宽度,脉冲间隔的调整视粉尘量的大小,一般情况可设置在25秒左右,脉冲宽度可设置在0.1秒左右。
4、对贮存在集灰斗的粉尘要守时、定时清理。
5、设备定时保养,正常作业。








